Samsung’s Smart Glasses Patent Could Change How You See Tech, Literally

I wear glasses, and that’s always a nagging concern whenever I try out a cool AR/VR gadget. If you wear glasses, you know exactly what I mean. It’s downright frustrating with most AR/VR devices or smart glasses. But thankfully, Samsung seems to be on a mission to change that, if a recent patent is anything to go by. According to the patent (spotted by XpertPick), Samsung may be working on smart glasses with a built-in customizable display that also offers vision correction.
Samsung patents smart glasses with customizable display and vision correction
Samsung is indeed working on smart glasses, briefly teasing them during Galaxy Unpacked. If you recall, there was a mini teaser featuring the Galaxy Z Fold, the G Fold (tri-fold), the Project Moohan XR headset… and a pair of smart glasses. Now, a newly spotted patent in the USPTO database gives us a glimpse into Samsung’s plan to experiment with a customizable display and built-in vision correction for what could be its future smart glasses.
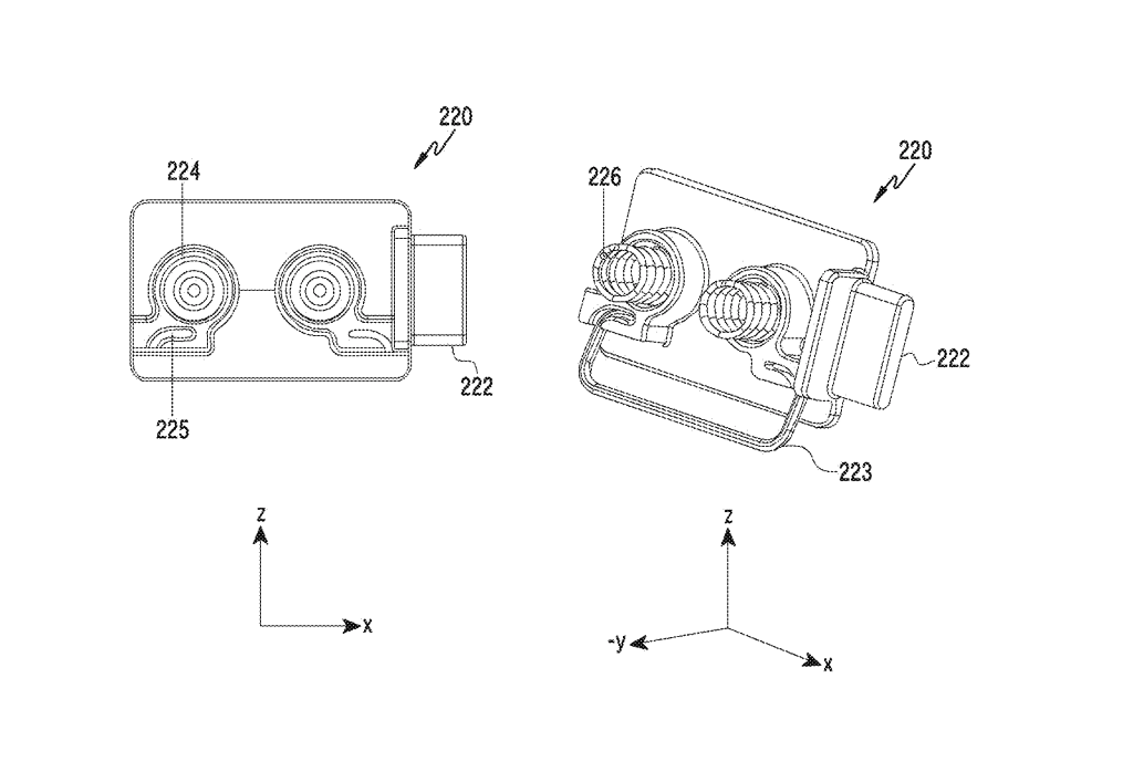
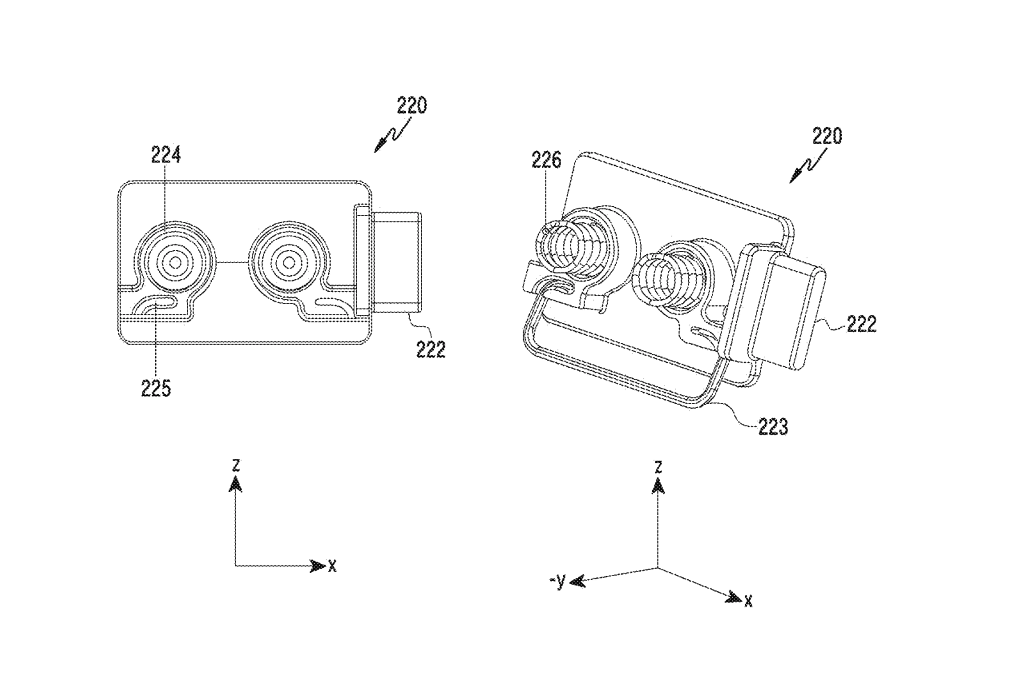
The patent describes a wearable gadget with a display system and clip-on prescription lenses. It also includes a smart mechanism with gears and actuators to adjust focus and enhance clarity. If brought to life, this could be much helpful for glasses wearers, making AR and VR experiences much sharper and more immersive.
Of course, whether Samsung will actually implement this — or if it’ll even make it into the upcoming smart glasses — remains unclear. But the fact that a patent exists means some already considered this. That said, a patent doesn’t guarantee a final product. Like any tech giant, Samsung files tons of patents, and many never see the light of day.













