Samsung’s Latest Patent Reveals a Quad-Fold Device with a Unique Design

Samsung is leading the global foldable market, though the competition has increased in recent years due to the entry of several OEMs like Huawei and Xiaomi. Despite the company’s strong position in the foldable market, it has yet to launch its first tri-fold device. Huawei took the lead in this space with its Mate XT Ultimate. However, that may not be the case with a quad-fold device, as Samsung has recently filed a patent for one such device, hinting at its intention of early adoption of this innovative technology.
Samsung’s patent shows off a quad-fold device
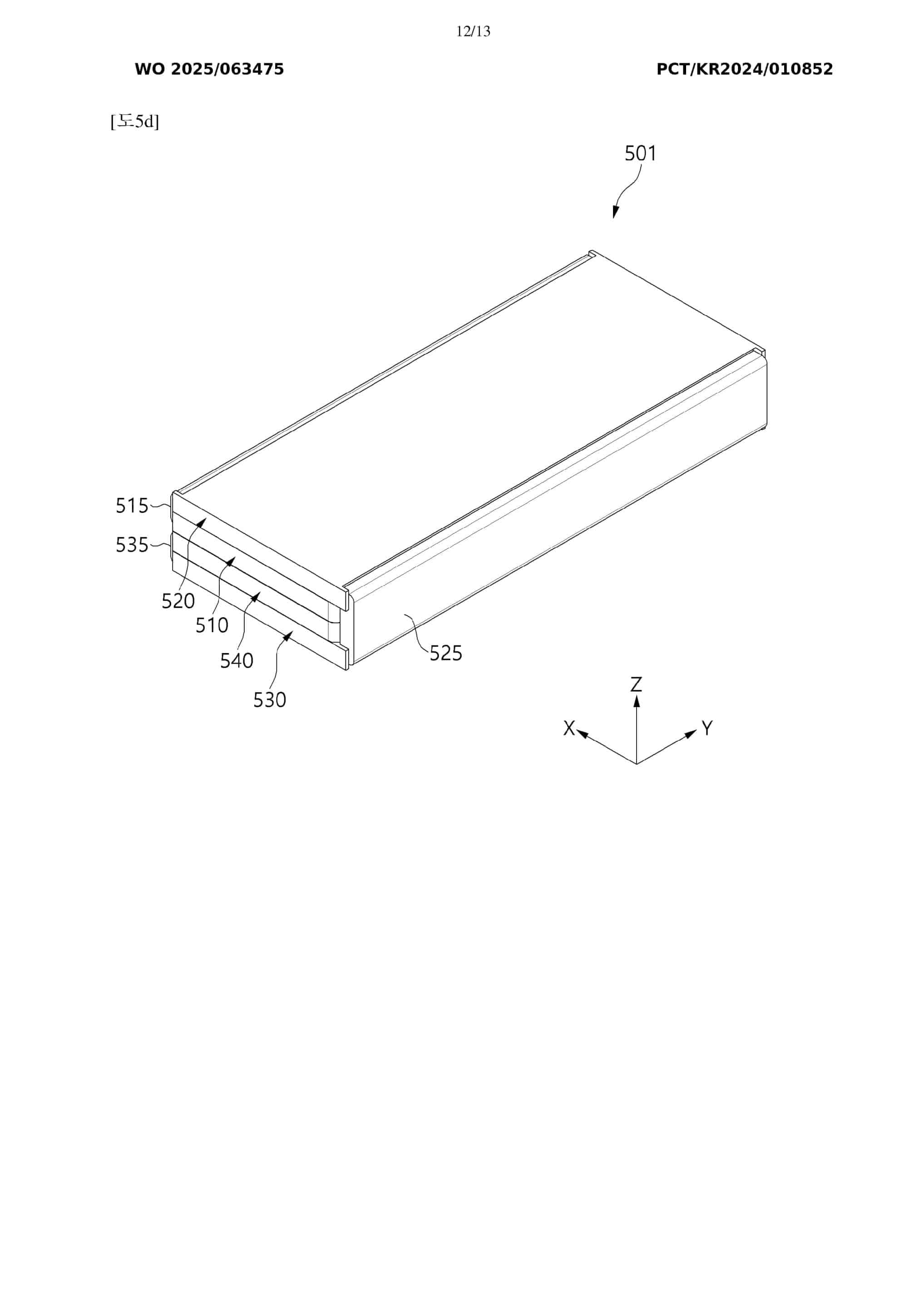
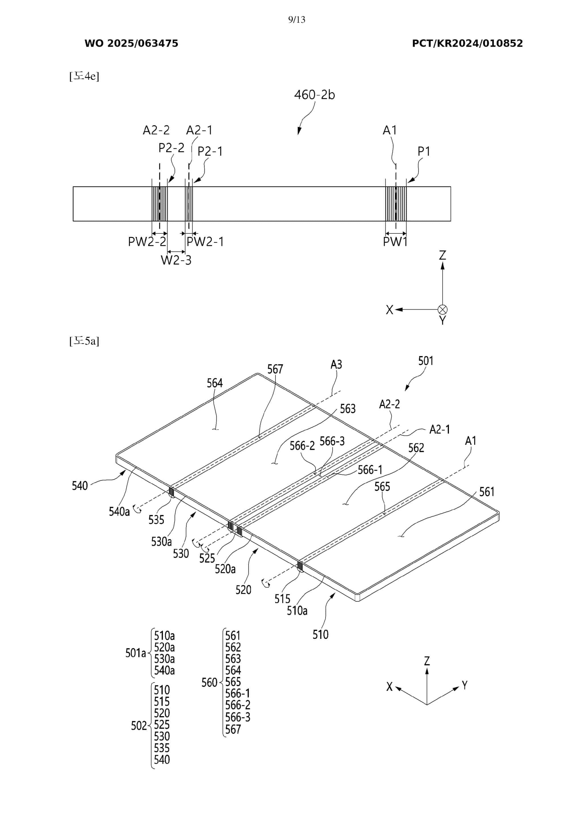
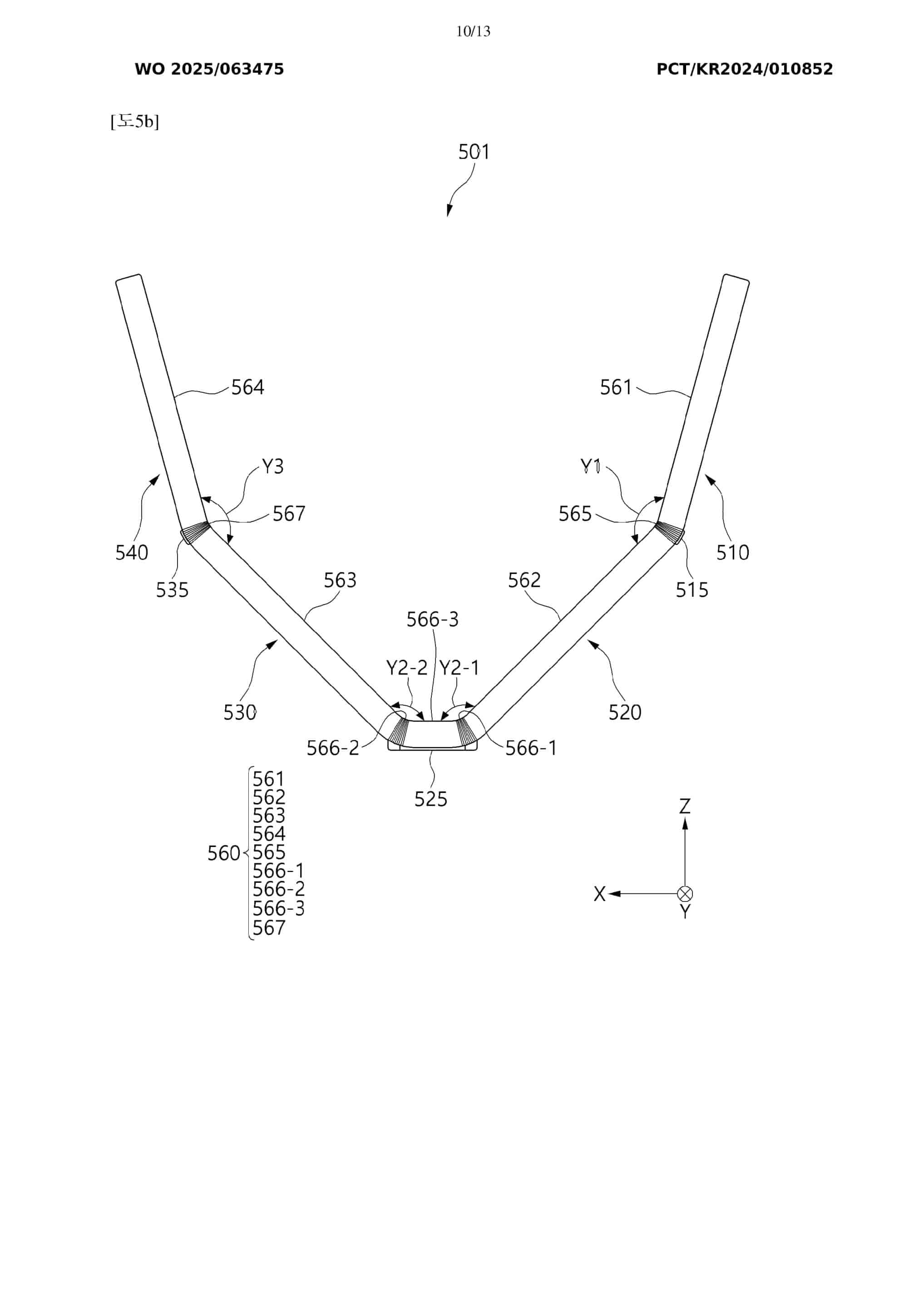
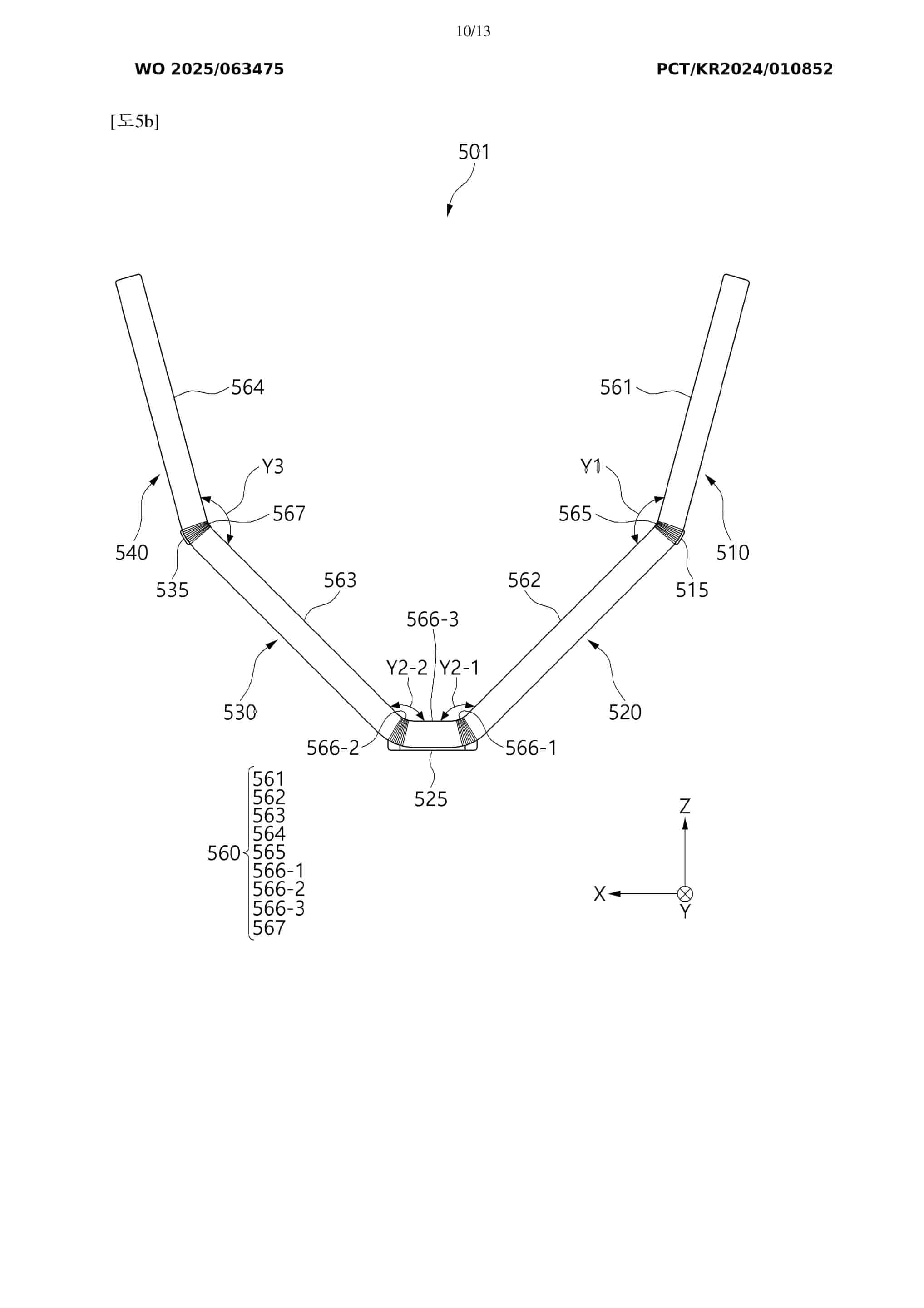
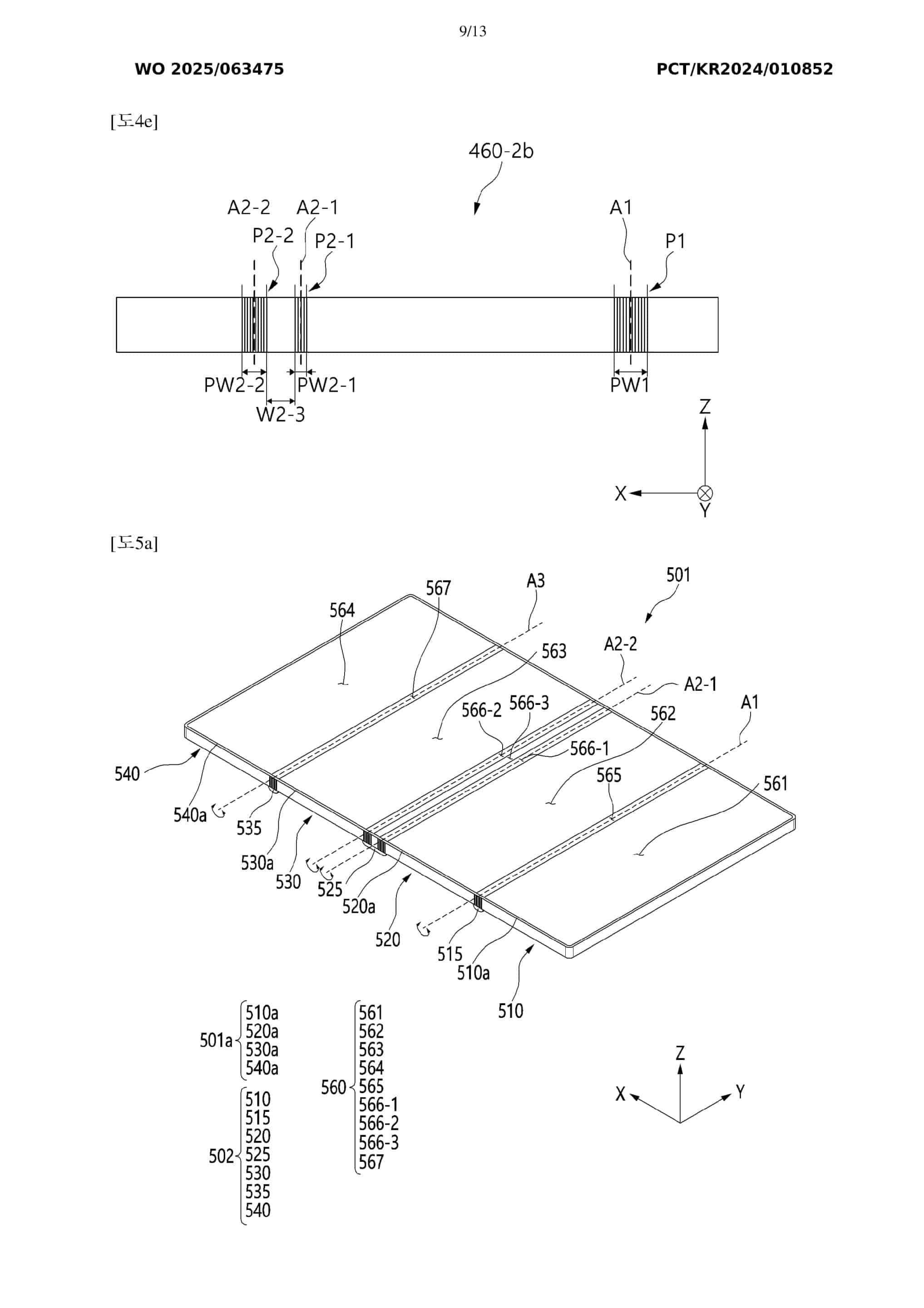
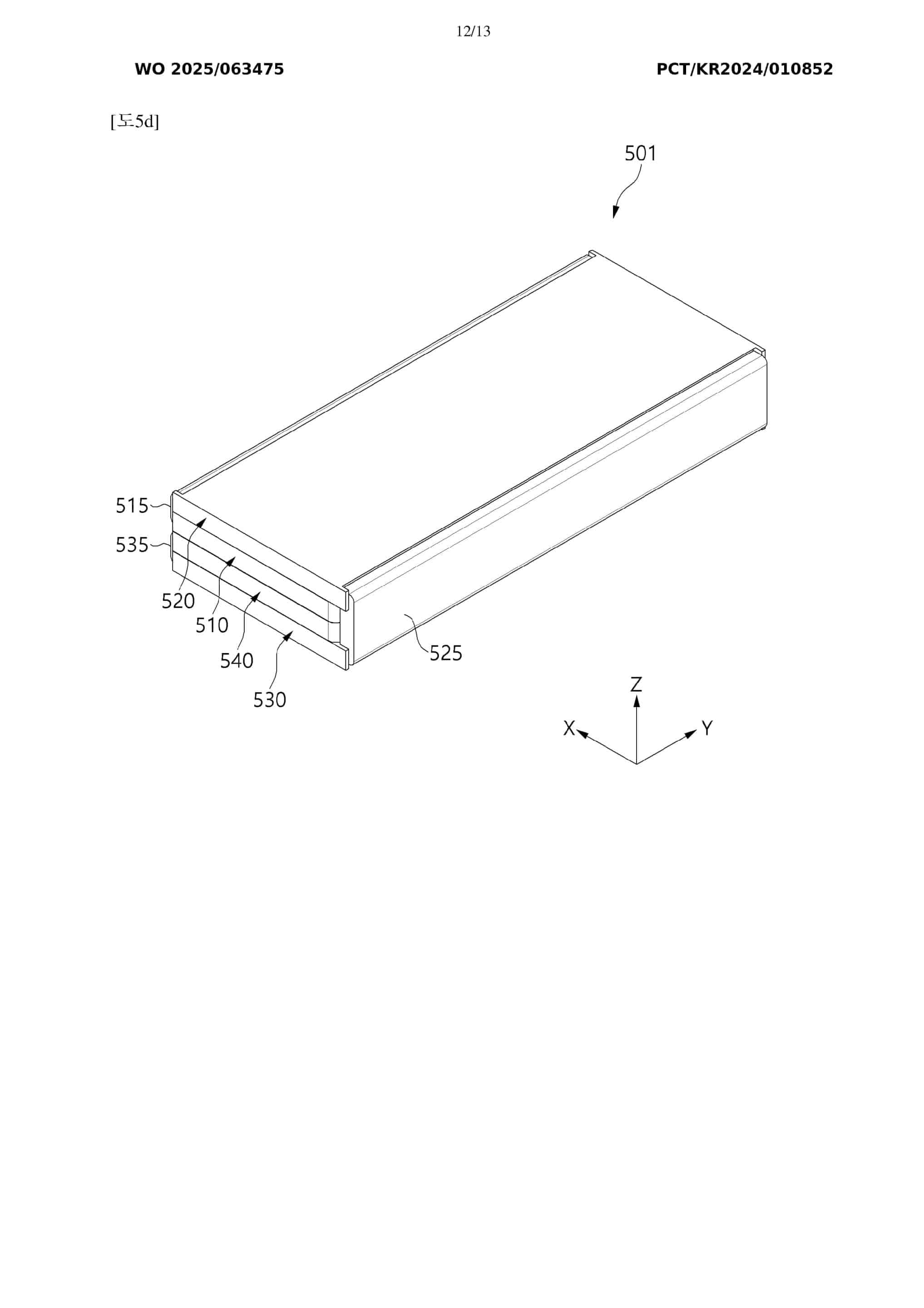
Samsung recently filed a patent for a quad-fold device on the WIPO (World Intellectual Property Organization) website with the publication number WO/2025/063475. The patent mentions the title “ELECTRONIC DEVICE INCLUDING BENDABLE DISPLAY,” which clearly points to a foldable device.
The listing also includes several design schematics of this device, revealing its foldable mechanism. We can see that the four panels are connected in a horizontal arrangement with three hinges, which allow them to fold. Over these four panels, there is a single foldable display that covers them entirely. So, if this product materializes, it will offer users the flexibility to switch between different modes. Users will be able to use it as a tablet for a larger screen experience, set it up like a laptop for productivity, and fold it into a compact phone design.
Of course, these are just ideas Samsung has come up with, and there is no guarantee that these designs will turn into commercial products. However, it shows that Samsung is serious about the future of mobile technology and sees the foldable market as an opportunity to grow its business in the future.
As of now, Samsung is gearing up to launch its first tri-fold device, which could debut as the Galaxy G Fold. As its name suggests, Samsung will adopt a G-style tri-fold design, which can fold twice inwards. This design should protect the screen of the device from drop impact.














