Samsung Imagines Replaceable Lens in Galaxy Phones in New Patent

by | May 1, 2025 | News

SammyGuru has affiliate and sponsored partnerships, we may earn a commission.

Samsung may be developing a phone with a replaceable lens, according to a newly published patent that outlines the concept. The patent suggests Samsung is exploring modular camera systems. Well, that’s a trend that’s already gaining traction among Chinese phone maker. And one that’s being well-received by the community.

Samsung patent suggests we could see replaceable camera lens in Galaxy phones

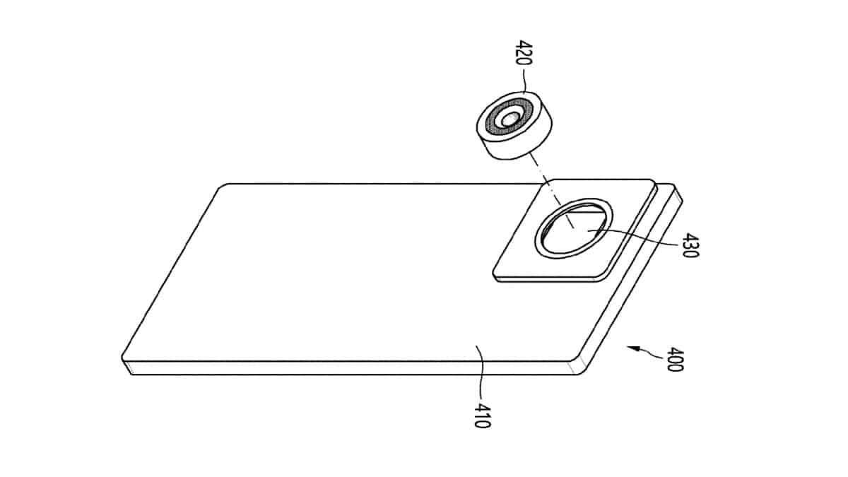
The patent is published by the World Intellectual Property Organization (WIPO) under the number WO/2025/084594 (via 91Mobiles). This patent imagines a phone-like device with a replaceable camera lens, meaning the lens assembly is detachable. That could allow users to swap lenses depending on their needs. We’ve already seen some examples of how this could fare in a few recently released phones.

Samsung-replaceable-lens-phone-patent

With this built-in design, users could potentially have access to multiple lenses that serve different functions, such as zooming, focusing, and stabilization. This would give users more control over their photography, something that is currently only possible with high-end, professional cameras.

As detailed in the patent and helpfully explained by 91Mobiles, the key to this design is a motor or actuator that would control the movement of the lens or the image sensor itself. This movement would help adjust focus or zoom, and it might even offer features like stabilization or alignment. This actuator, located on the device’s body, would simplify the design by not requiring movement in the lens assembly itself. Some actuators could function independently, allowing for more precise adjustments based on factors like subject distance.

One of the most intriguing features of this system is how the device might identify the attached lens. It could use magnets, RFID tags, or other sensors to recognize the lens and adjust the device’s settings accordingly. This could enhance the user experience by automatically optimizing settings like aperture or sensor positioning based on the lens in use.

Given that it’s still very early and not all patents actually translate to real-life devices, we’d advise keeping your expectations in check. But if Samsung moves forward with this, it would be extravagantly awesome.

Google Preferred Source Badge for SammyGuru.com

Follow us on Google Discover & set us as a preferred source in Google News

Share this Post

___________________________

New Blog Posts

___________________________